YYT28全液壓鑿巖機說明書
YYT28全液壓鑿巖機
YYT28全液壓鑿巖機|液壓鑿巖機原理
YYT28全液壓鑿巖機的介紹
YYT28液壓鑿巖機是由鑿巖機,液壓支腿和液壓泵組成,液壓泵分為一泵可帶一機,一泵帶兩機,一泵四機等,可根據施工要求選擇,井下施工可配防爆電動液壓泵,還可選擇柴油動力液壓泵。
YYT28全液壓鑿巖機的適用范圍
YYT28全液壓鑿巖機目前已被公鐵路隧道、水電水利工程、建材采石等眾多部門所采用。
液壓鑿巖機的特點
YYT28全液壓鑿巖機與多種規格液壓站配套,高鉆速、低電耗、輕噪音、少故障,安全可靠,配置簡單,移動方便。比風鉆鉆孔速度快,提高工作效率;支腿長度最長可達兩米半,最短為一米三。
YYT28全液壓鑿巖機的參數
主機:0.6*0.173*0.19m 工作油壓:15-17Mpa
流量:30-35L 沖擊能:60-65J
沖擊頻率:60-65HZ 轉矩:60-65N.m
轉速:250-300r/min 液腿:1300-2500mm
水壓:0.3-0.5Mpa 重量:26kg

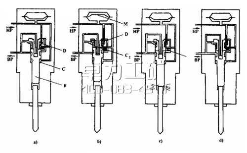
YYT28型液壓鑿巖機在工作時,結合五大系統進行反復運轉,可利用四個階段進行詳細的解說,特別提醒大家,請參考上面的工作原理圖進行對比,可以幫助您更好的理解鑿巖機的工作原理。
1、由高壓油源HP來的液壓油進入柱塞P的下端C1腔,推動柱塞向上運行。
2、柱塞P在上升過程中,將閥套D向上推動,直到定點位置,于是高壓油經過閥套D與柱塞P之間的一個經過標定的進油口向C2腔供油,同時氮氣貯能器隔膜M也向上壓縮氮氣進行貯能。
3、當柱塞上端面受到的液體壓力超過下端的液體壓力時,力的不平衡使柱塞加速向下運動,同時貯能器提供快速運動所需的油量。在向下運動的過程中,柱塞將節流小孔O打開,使閥套D也下降。柱塞繼續向下運動,一直到與破碎工具相碰產生打擊為止。
4、閥套D在向下運動過程中, 切斷了向C2腔的供油,并使它與低壓回油路BP相通,這樣整個過程又回到初始位置。如此周而復始,使可自動進行連續打擊。

液壓鑿巖機工作原理圖
YYT28型全液壓鑿巖機采用先進的生產工藝和技術標準,不僅鉆速比風動鑿巖機快兩倍以上,而且沖擊功高、扭矩大、頻率亦高,并且能耗為風動鑿巖機的1/3左右,卡鉆事故少,鉆具壽命長,使工作環境大為改善。建議大家在選購鑿巖機產品時,可以多關注液壓鑿巖機,以方便提高工作效率和進度。
卓力工礦是國內知名YYT28全液壓鑿巖機生產廠家,有豐富的經驗為客戶提供高品質的YYT28全液壓鑿巖機及完善的售后服務,如果您想了解最新YYT28全液壓鑿巖機價格或者更詳細信息,歡迎撥打服務熱線:
13280082001 18605374511.或者聯系在線客服:
點擊這里、立刻咨詢;我們攜程為您服務!
常見問題:YYT28全液壓鑿巖機發貨時間? YYT28全液壓鑿巖機售后保障? YYT28全液壓鑿巖機訂貨需要提供什么信息?
產品標簽:YYT28全液壓鑿巖機|
液壓鑿巖機原理
|
上一篇:沒有了!
下一篇:DZYG38B型液壓鑿巖機

鐵路設備
運轉設備
鉆采設備
噴漿支護
提升設備
防爆電器
礦用電氣
通防設備
救援設備
化工設備
路面建筑
園林機械
節能環保設備
水利機械
泵類
電機





















