ZYX45隔絕式壓縮氧自救器說明書說明書
ZYX45隔絕式壓縮氧自救器說明書
ZYX45隔絕式壓縮氧自救器說明書|45分鐘壓縮氧自救器
ZYX45壓縮氧自救器說明書
目 錄
一、概述„„„„„„„„„„„„„„„„„„„„1
二、結構特征„„„„„„„„„„„„„„„„„„3
三、技術性能„„„„„„„„„„„„„„„„„„6
四、使用與操作„„„„„„„„„„„„„„„„„7
五、使用注意事項„„„„„„„„„„„„„„„„10
六、日常維護和保養.„„„„„„„„„„„„„„„11
七、故障分析與排除„„„„„„„„„„„„„„„12
八、運輸與儲存„„„„„„„„„„„„„„„„„13
九、箱及檢查„„„„„„„„„„„„„„„„„„13
十、售后服務„„„„„„„„„„„„„„„„„„14
一、概述
1.產品主要用途與適用范圍
隔絕式壓縮氧氣自救器主要用于煤礦井下或環境空氣發生有毒氣體污染及缺氧窒息性災害時,現場人員迅速佩戴,保護佩戴人員正常呼吸迅速逃離災區,實現自救。
本產品主要適用于下述場合:
1)可供煤礦井下作業人員在發生瓦斯突出、環境空氣被有害氣體污染等災害性事故時,以及救護人員在呼吸器發生故障時做備用呼吸器佩戴撤離災區時使用。
2)可供化工部門在對設備進行簡單維護以及有毒有害氣體溢出時佩戴使用。
3)可供石油開采作業時,天然氣及其它有毒氣體大量突出時佩戴使用。
4)可裝備在現代化高層建筑中,當發生災害性火災、有害氣體嚴重污染環境時,供遇險人員佩戴逃生和待救時使用。
5)也可供其它部門在有毒有害氣體或缺氧環境中使用。
2.產品特點
1)本產品采用了人體呼吸系統與外界環境完全隔絕,可防止各種有毒有害氣體侵入人體呼吸系統,能滿足遇險人員快速逃生時佩戴使用。
2)采用了循環呼吸方式,人體呼出的CO2通過CO2 吸收劑吸收掉,而余下的氣體和減壓器輸出的氧氣進入氣囊,通過口具吸入人體肺部。 與往復式呼吸方式相比,其優點是阻力小、無粉塵吸入、不嗆人、吸氣溫度低、舒適、安全可靠。
3)具有三種供氧方式:定量供氧、自動補給供氧和手動補給供氧,大大提高了呼吸系統的安全和可靠性。
4)采用了先進的減壓原理,體積小、重量輕、工作穩定可靠、拆裝十分方便。
5)充氧氣、裝吸收劑方便,維護、修理簡單。可重復使用,成本低廉。
3.產品型號及其含義和執行標準
a.根據AQ1054-2008《隔絕式壓縮氧氣自救器》要求,產品的型號示意如下:

b.本產品執行標準AQ1054-2008《隔絕式壓縮氧氣自救器》,二氧化碳吸收劑執行標準MT454-2008《隔絕式呼吸器和自救器用氫氧化鈣技術條件》。
適應環境溫度(-10~40)℃

二、結構特征與工作原理
1.自救器結構

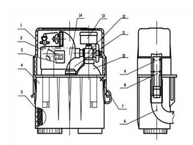
(圖二)
1.上殼蓋2.氣囊 3.氣囊管4.清凈罐組5.二氧化碳吸收劑氫氧化鈣6.背帶7.背帶環8.掛扣9.沉頭螺釘10.氧氣瓶
11.氧氣瓶固定支架12.減壓閥13.氧氣壓力表14.螺母
2.主要工作系統及各部件的作用和工作原理 11.氧氣瓶固定支架12.減壓閥13.氧氣壓力表14.螺母
主要由高壓系統、呼吸系統及二氧化碳過濾系統組成。
高壓系統:氧氣瓶、氧氣瓶開關、減壓器和壓力表等。
呼吸系統:口具、鼻夾、呼吸軟管、氣囊、排氣閥和呼吸閥等組成。
過濾系統:清凈罐內裝入定量符合標準的二氧化碳吸收劑組成過濾系統。
平時所有系統裝置都裝在上蓋與下殼中,通過上蓋的觀察窗可清楚看到壓力表的壓力指示,下殼上有皮帶環和背帶,使用者可攜帶在礦工皮帶上或跨在肩上。亦可將腰帶穿入腰帶環內,戴在腰間。
1)氧氣瓶及瓶閥 氧氣瓶是自救器的供氧源,其作用是儲存20MPa高壓醫用氧氣。使用時高壓氧氣經減壓閥減壓后進入呼吸系統。 氣瓶閥與氧氣瓶連在一起,瓶閥開啟方式采用旋轉式,使用時旋開閥門(反時針方向),氧氣經過減壓鏜室進入減壓閥。
2)減壓器 從氧氣瓶輸出的高壓氧氣經減壓器減壓為(0.3±0.025)MPa的低壓氣體并穩定在>1.2L/min的流量范圍,進入呼吸系統供人使用。 注意:減壓器已調校好,不得隨意拆卸和調整。 3)清凈罐 清凈罐為下殼組的一部分,內裝氫氧化鈣吸收劑。清凈罐的作用是將人體呼出的有害氣體(主要是CO2 )經過吸收劑凈化后重新進入氣囊,供人體呼吸使用。
4)氣囊 氣囊由無毒無害的橡膠材料制成。它是隨佩戴者情況而起伏漲縮為緩沖氣流的裝置,同時用來存儲來自清凈罐中經過凈化的空氣和來自減壓器的氧氣。
5)排氣閥 氣囊內有多余的氣體時,排氣閥將它排放到大氣中去,以減少系統的呼氣阻力。
排氣閥工作原理:排氣閥與氣囊相連,當氣囊內氣體壓力處于(150~300)Pa時,氣囊鼓起,排氣閥打開,將多余的氣體排放到大氣中,使氣囊始終處于規定的壓力狀態下。
6)口具和鼻夾 口具是氣囊與人體器官的連接件,使用呼吸器時,口具應置于口中,橢圓形的口具片置于牙床與嘴唇之間,兩個凸出的嚼塊用牙咬住,既能防止口具脫落又能合嚴不漏氣。 鼻夾是一個由彈簧和兩端面有圓形溝槽的橡膠墊組成的,它的用途是夾住鼻子,防止外界有毒氣體從鼻孔吸入,實現用嘴呼吸。
7)壓力表 用來指示氣瓶中的氧氣壓力,它是與氧氣瓶連通的。
3.原理方框圖

4.工作原理
逆時針轉動開關旋鈕高壓氧由氧氣瓶流到減壓閥內,經減壓后,自動輸出以1.2L/min的流量進入氣囊,用手指按補氣壓板以60L/min的流量流入氣囊,手離開補氣壓板,補氧停止。
本產品還具有自動補氧功能,當呼吸系統為負壓時,補氣壓板向內收縮,壓迫補氣桿(在氣囊內)打開補氧機構,氧氣以60L/min的流量流入氣囊,當氣囊鼓氣時,補氣壓板離開補氣桿,補氣停止。如果呼吸系統內的氣壓超過一定值,氣體將從排氣閥排出。 吸氣時氧氣從氣囊,吸氣閥,口具進入人體,呼氣時氣體經過呼氣閥,呼氣軟管(氣囊內)進入清凈罐,人體呼出的CO2被清凈罐內的吸收劑吸收,余下的空氣進入氣囊與氣瓶內減壓后的氧氣混合,供人體呼吸。如此反復完成人的呼吸循環,人體的呼吸與外界大氣完全隔絕。氧氣瓶內氧氣的儲量由壓力表顯示。
三、技術性能
ZYX45壓縮氧氣自救器主要技術參數見(表一)

四、使用前注意事項
1、使用與操作
1)在使用本儀器前,應認真閱讀說明書,經過專業培訓,熟練掌握操作過程,以便在使用時能迅速、準確地完成佩戴操作,起到安全保護作用。
2)攜帶自救器前,應觀察氧氣瓶壓力表的指示值不得低于(18~20)MPa。
3)檢查自救器吸收劑(氫氧化鈣)是否在有效期內。
2、攜帶與使用操作
(1)將自救器背在身體的右后方或用皮帶穿皮帶環系在腰間。
(2)將自救器移到右前方,開啟封印條。
(3)取掉上蓋。
(4)開啟氧氣瓶使氧氣進入氣囊。
(5)去掉口具塞。
(6)將口具放入口中,把口具片放入牙齒與嘴唇之間,并用牙齒咬住牙墊。
(7)將鼻夾夾在鼻子上,松手后夾緊鼻孔,開始用嘴呼吸。
(8)調整背帶到合適的位置。
(9)撤離災區。
五、使用注意事項
1、在使用過程中要養成經常觀察壓力 表的習慣,以保持儀器始終處于完好狀態。
2、熟練使用本儀器,掌握耗氧時間,以便及時撤離災區并選擇到去新鮮風流最近路線。
3、嚴禁無故開啟,磕碰及坐壓自救器。
4、使用時保持沉著,在呼氣和吸氣時都要慢而深(即深呼吸)。口與自救器的距離不能過近,以免氣囊內的呼氣軟管打折,呼氣阻力增加。在使用后期,清凈罐的溫度略有上升是正常現象,不必緊張。
5、使用中應特別注意防止利器刺破、劃傷氣囊。
6、在未到安全地點時,嚴禁拿出口具說話,以免吸入有害氣體,造成安全事故。
7、在到達安全地點前不要摘下自救器。
8、在低溫或高溫下使用自救器應遵守有關規定。
六、日常維護和保養
(1)應經常檢查自救器,一般每隔一季度要檢查氧氣瓶壓力、正負壓氣密、排氣壓力、定量供氧等5項指標,發現氣瓶壓力下降立即充填氧氣(用于充填自救器的氧氣應符合GB8982-2009《醫用及航空呼吸用氧》標準的規定),發現達不到規定指標要進行調整和修理。如果在攜帶時遇到激烈撞擊等情況對儀器性能有懷疑時,也要檢查上述5項指標,并進行修理。每隔3年要對氧氣瓶作水壓試驗。每隔兩年更換二氧化碳吸收劑。
(2)每次使用后都要更換符合MT454-2008《隔絕式氧氣呼吸器和自救器用氫氧化鈣技術條件》標準的二氧化碳吸收劑(吸收率應不低于35%),在裝填時邊震動邊裝填,吸收劑要裝滿裝實。裝實后蓋上底蓋,并用專用扳手擰緊,保證氣密。
(3)氣瓶充氣方法:充氣時卸下壓帽與固定鋼支,拔出氣瓶,卸掉減壓閥,換上充氣接頭便可對氧氣瓶進行充填氧氣,充填后壓力應在20MPa以上。氧氣瓶的充氣要同時符合氣瓶安全監察規程和GB5099-1994《鋼質無縫氣瓶》標準的相關規定。氧氣瓶充裝氧氣時應將氣瓶放置在防爆裝置箱內,進行充氣;如果沒有防爆裝置,充氣時人不能正對氣瓶,以防出現意外。
(4)在充填完氧氣和換藥后進行組裝。在進行組裝時必須十分注意:安裝氣囊內的呼吸軟管時不能扭曲,否則 會增大呼氣阻力,嚴重扭曲時會使呼吸氣路阻斷;把減壓器擰緊在開關上,把氣囊上的膠圈完全嵌入在減壓器的環形槽內。
(5)裝上蓋前先拿住口具使氣囊逆時針繞壓力表上一周,口具的開口須朝上,要注意補氣壓板須豎立放置此時為最佳裝配位置。輕輕扣上上蓋使儀器恢復完好狀態。(注意:扣蓋時上、下蓋不要夾住氣囊)。
(6)自救器一旦使用,使用時間雖然不足額定防護時間,都應進行重新充填、換藥和檢驗即按上述2、3項要求進行。
2、清洗和消毒 每次使用后對氣囊、口具進行清洗、消毒和干燥處理。
3、儀器檢驗
(1)組裝完后要對呼吸系統進行氣密校驗。在正壓980Pa或負壓-800Pa時,1min內水柱變化不超過50Pa為合格,校正壓氣密時關閉排氣閥。 檢驗方法:可用氧氣呼吸器校驗儀進行校驗,將校驗儀接頭插入口具中,用軟管將校驗儀接頭與口具連接進行抽氣,抽到負壓為-800Pa時,在1min內水柱下降小于50Pa為負壓氣密合格,再向自救器充氣,當正壓為980Pa時,1min內水柱下降小于50Pa時,為正壓氣密合格。
(2)檢查組裝完的儀器各零部件安裝是否正確。
(3)特別注意檢查安全閥帽是否擰緊。
七、故障分析與排除
序號 故障現象 原因分析 排除方法
1 低壓系統不氣密
原因:1.氣囊破損或老化2.橡膠件 老化3.排氣閥片損壞4.清凈 罐破裂5.各卡箍未上緊
排除:檢查引起該故障 的零部件,可修 復的修復,不可 修復的更換。
2 氧氣瓶開關打開時減壓器與開關連接處漏氣
原因:1.套在減壓器上的O型圈損壞或有雜物 2.減壓器未擰緊
更換O型圈或清 洗、擰緊減壓器
3 氧氣瓶開關漏氣
原因:1.開關軸上的O型圈損壞 2. 安全閥帽處的兩個密封墊損 壞或安全閥帽未擰緊
排除:更換O型圈、密封墊 擰緊安全閥帽
4 高壓系統漏氣
原因:1.氧氣瓶漏氣2.瓶開關關閉 不嚴3.瓶開關漏氣4.壓力表 漏氣5.密封圈損壞
排除:更換氧氣瓶、更 換開關軸、更換 壓力表、更換密 封圈
5 呼氣阻力大
原因:1.氣囊內呼氣軟管扭結2.呼 氣管堵塞3.呼氣管粘連
排除:1.將呼氣軟管理順裝好2.檢查藥 罐中的呼氣管是 否堵塞3.檢查清洗呼氣閥
6 吸氣阻力大
原因:1.吸氣閥粘連2.減壓器進出氣孔堵塞
排除:1、清洗吸氣閥2、 減壓器檢查維修
八、運輸與儲存
1、該儀器包裝適用于汽車、火車、輪船等交通工具。搬運時防止劇烈震動和沖擊,運輸中要求防雨、防潮,嚴禁與有毒氣體或具有腐蝕性物質及油類物質混裝。
儀器放置在無雨雪侵入,空氣流通,無有害物質及油類物質的干燥、清潔倉庫中。
九、開箱檢查
用戶收到本儀器應由專人進行開箱檢查,首先檢查包裝箱是否完好,然后打開包裝箱,按裝箱單清點技術文件和配件是否齊全,若有不符請及時與供貨方聯系。
十、售后服務
1、在用戶遵守產品的保管、安裝、使用和運輸規定的情況下,自發貨之日起,一年內因產品質量問題而發生損壞、不能使用,我公司將為用戶更換零部件和維修本產品。
2、提供零配件和產品維修服務。
3、高素質的服務隊伍,堅持售前、售中、售后“三服務原則”。
卓力工礦是國內知名ZYX45隔絕式壓縮氧自救器說明書生產廠家,有豐富的經驗為客戶提供高品質的ZYX45隔絕式壓縮氧自救器說明書及完善的售后服務,如果您想了解最新ZYX45隔絕式壓縮氧自救器說明書價格或者更詳細信息,歡迎撥打服務熱線:
13280082001 18605374511.或者聯系在線客服:
點擊這里、立刻咨詢;我們攜程為您服務!
常見問題:ZYX45隔絕式壓縮氧自救器說明書發貨時間? ZYX45隔絕式壓縮氧自救器說明書售后保障? ZYX45隔絕式壓縮氧自救器說明書訂貨需要提供什么信息?
產品標簽:ZYX45隔絕式壓縮氧自救器說明書|
45分鐘壓縮氧自救器
|
上一篇:ZY30隔絕式壓縮氧自救器
下一篇:ZYX隔絕式壓縮氧自救器

鐵路設備
運轉設備
鉆采設備
噴漿支護
提升設備
防爆電器
礦用電氣
通防設備
救援設備
化工設備
路面建筑
園林機械
節能環保設備
水利機械
泵類
電機




















